Устройство катушки зажигания
Катушка представляет собой импульсный повышающий трансформатор. Именно она обеспечивает преобразование низкого напряжения, которое подается на нее от АКБ или генератора, в импульсы высокого напряжения.
Благодаря этим импульсам между электродами свечи проскакивает искра, которая и воспламеняет рабочую смесь в цилиндрах. Как и любой трансформатор катушка состоит из двух обмоток (первичной и вторичной), магнитопровода и корпуса.
Модуль же конструктивно несколько сложнее и включает он две катушки и коммутатор, но принцип работы у него – идентичен катушке.

Какими бывают катушки зажигания?
На данный момент друзья, ваш покорный слуга насчитал целых три типа катушки зажигания. Все они играют одну и ту же роль, но несмотря на это, имеют разную конструкцию, а иногда даже принцип действия. Сейчас, предлагаю уделить достаточно времени каждой из них!
Общий тип – классический
Катушка зажигания общего типа работает в паре со специальным распределителем (трамблером), который проводит импульс к нужному цилиндру. Используется она на автомобилях с любой системой зажигания. Весь процесс создания искры, выглядит следующим образом:
- Напряжение от аккумулятора поступающее на прибор, следует по виткам первого слоя проволоки.
- Таким образом, создается магнитное поле, за счет которого, на вторичной обмотке зарождается импульс высокого напряжения.
На заметку: для расчета выходного напряжения, следует количество витков второго слоя проволоки умножить на индукцию поля первичной обмотки. Это означает, что чем больше витков на вторичной обмотке, тем соответственно выше ток на выходе.
- Железный сердечник одним своим нахождением в корпусе, увеличивает магнитное поле, а с ним и напряжение.
- Сбросить температуру от возможного токового нагрева помогает трансформаторное масло.
В связи с тем, что крышка такой катушки зажигания герметично прилегает к корпусу, ремонту прибор практически не подлежит. Чтобы наверняка убедиться в ее неисправности, требуется замерить сопротивление ее витков. Этот показатель у каждой катушки свой и вам нужно его знать, возможные отклонения при замере будут означать выход из строя агрегата.
Другие факторы влияния на катушку
Все неисправные катушки не ремонтируются, они подлежат замене.
— механические повреждения эбонитового корпуса;
— нарушение его герметичности;
— обрыв входящих и выходящих проводов, отход их контактов;
— подтеки масла, Загрязнения изоляции в свечах, что провоцирует дополнительные разряды на поверхности, нарушая ровный такт воспламенения горючего;
— продолжительная или сильная вибрация.
Если проблема не устранена, а катушка в полном порядке, значит, неисправен трамблер или сама электронная система. Для установления этого факта, одним концом вольтметра коснитесь катушки, вторым – кузова авто, точнее, его «массы». Неисправность доказывает нулевое показание измерительного прибора.
Важно! Строго соблюдайте осторожность при проведении диагностики катушек зажигания и свечей. Не забывайте, что на некоторых участках, есть ток высокого напряжения!
![]()
ДАТЧИК ТЕМПЕРАТУРЫ ВОЗДУХА НА ВПУСКЕ
Датчик температуры всасываемого воздуха может быть довольно непритязательным компонентом, но он играет ключевую роль. Его Диагностика авто 0![]()
ДАТЧИК КОЛЕНЧАТОГО ВАЛА (датчик коленвала): принцип работы
Датчик коленчатого вала является одним из ключевых поставщиков информации управления двигателем. Он определяет скорость
- Как проверить и заменить датчик уровня топлива и блок отправки
- Диагностика датчика положения коленвала и распредвала
- Почему в охлаждающей жидкости есть масло?
- Датчик положения коленвала и распредвала ДПКВ / ДМРВ: диагностика и характеристики
Принцип работы
В основе работы катушки зажигания лежит принцип работы повышающего трансформатора, когда небольшое напряжение в 12 В преобразуется в несколько тысяч вольт.
Преобразование напряжения происходит благодаря двум обмоткам – первичной и вторичной про которые было упомянуто выше. В первой создается пониженное U, во второй повышенное.

В зависимости от типа устройств расположение обмоток и их конструкция отличаются.
Принцип работы:
- Прерыватель замыкает электрическую цепь и на первичную обмотку поступает напряжение. Благодаря этому в катушке генерируется магнитное поле.

- После размыкания цепи магнитное поле исчезает, но проходя через вторичную обмотку оно генерирует в ней высокое напряжение.

Наглядно принцип работы катушки зажигания представлен в видео.
Типы катушек:
- Обычная.
- Индивидуальная.
- Двухвыводная.
Обычная катушка зажигания
Здесь первичная обмотка представляет из себя металлический сердечник (для увеличения магнитного поля) вокруг которого намотано 150 витков тонкой изолированной медной проволоки концы которой выведены на корпус.

Вторичная обмотка высокого напряжения – представляет из себя намотанную вокруг металлического сердечника тонкую медную изолированную проволоку до 50 000 витков.
Вторая обмотка с первой соединены минусовыми проводами. Плюсовой провод обмотки высокого напряжения выведен на крышку и подключен к специальному выводу.
В качестве изолятора и с целью охлаждения в некоторых моделях катушек зажигания предусмотрено трансформаторное масло.
Индивидуальная катушка зажигания
Устройство их сложней чем обычные катушки, устанавливаются на двигатели с электронным впрыском.
Конструктивно в них тоже предусмотрены две обмотки, которые отличаются между собой не только количеством витков и толщиной проволоки, но и обратным порядком намотки.
Так в первичной обмотке сердечник расположен как обычно внутри, а во вторичной снаружи. Также во вторичной обмотке, с целью отсечения очень высокого напряжения, предусмотрен диод.
Также благодаря особым конструкторским решениям стало возможным подавать высокое U не на распределителя, как в случае с обычной катушкой, а сразу на свечи зажигания.

Двухвыводная
Такая катушка зажигания сразу подает напряжение на свечи двух цилиндров, т.е. на четырехцилиндровом моторе их будет две и объединены они будут в один блок, который по сути является четырехвыводной катушкой.


Откуда под капотом возникают киловольты, поджигающие рабочую смесь в цилиндрах, если напряжение АКБ едва превышает 12 В? А сколько выводов у катушек зажигания? Это (и не только это, конечно) нужно знать, чтобы избежать дорогого ремонта.
Что такое катушка зажигания и замем она нужна
Чтобы заряд, поступивший на свечу зажигания, пробил расстояние между двумя электродами и сгенерировал искру, нужно очень высокое напряжение. 12 Вольт, которые производит аккумулятор, для этого недостаточно. Нужны куда более высокие показатели – от 10 до 50 кВ. Соответственно, требуется специальный прибор, который увеличил бы напряжение до минимально необходимых значений. Его называют умножителем (или преобразователем). Функции такого прибора и выполняет катушка зажигания. Она обеспечивает повышение напряжение и своевременное образование искры. Это и есть основное назначение детали. По сути, от работы катушки зажигания зависит, удастся завести двигатель автомобиля или нет.
Следует отметить, что на некоторые двигатели помимо катушки устанавливают трамблер. По сути, он представляет собой прерыватель-распределитель напряжения. Главная задача прибора – распределение высоковольтного электротока между цилиндрами.
В зависимости от того, используется ли это устройство в автомобильном моторе, он может относится к одному из 2 типов:
- катушечный;
- трамблерный.
Отметим, что при желании можно заменить трамблер на катушку, которая не требует его наличия. Однако это довольно сложная процедура, поэтому ее целесообразность стоит под вопросом.
Дефекты катушек, которые не выявляются тестером
Кроме проблем с обмоткой, которые можно определить при помощи мультиметра, существуют иные дефекты, которые нельзя определить при помощи данного устройства. Большинство из них определяются посредством внешнего осмотра.
Среди проблем такого плана можно определить неисправность контакта и протечку масла при сильной вибрации. Элементарное перегревание катушки может свидетельствовать о нарушении её герметичности.
Вне зависимости от обнаруженной неисправности катушку невозможно будет отремонтировать. Всё, что можно сделать – заменить деталь на новый элемент.
Неисправности катушки зажигания: признаки и симптомы

Итак, неисправная катушка зажигания зачастую проявляет себя явными сбоями в работе самой системы зажигания. Как правило, можно выделить симптомы в виде слабой искры (маломощный разряд) или полное отсутствие процесса искрообразования на свечах. Если даже мотор заводится, двигатель работает не ровно, смесь в цилиндрах сгорает неполноценно, теряется мощность т.д.
Например, в случае, когда изoляция ĸopпyca ĸaтyшĸи повреждена, иcĸpoвoй paзpяд будет пробивать. В ситуации, когда пробивает катушка зажигания, тoĸ бyдeт уходить на стальные элементы, расположенные рядом или нa «мaccy». В любом случае, искры на электроде свечи зажигания не будет.
Само собой, признаки неисправности катушки зажигания в такой ситуации вполне очевидны:
- возникнут пpoпycĸи зажигания в цилиндpax;
- двигатель будет плохо заводиться;
- холостые обороты будут плавать;
- при разгоне могут появиться рывки;
- хлопки в выпycĸной cиcтeме, cтpeляeт в выхлопной трубе;
- если катушка полностью неисправна, мотор не заведется;
- с неисправной индивидуальной катушкой ДВС будет работать, но начнет троить.
Конструктивные особенности и принцип работы катушки зажигания
Итак, сразу отметим, что возникающее в катушке высоковольтное напряжение, вызывая искру между электродами свечи зажигания, обеспечивает воспламенение топливно-воздушной смеси в цилиндрах ДВС. При этом соблюдая правила эксплуатации и проведения ТО катушки зажигания, можно увеличить не только ее срок службы, но и избежать нежелательных поломок.
По своей сути устройство катушки представляет собой трансформатор с двумя обмотками (первичной и вторичной). Внутри обмоток находится железный сердечник, снаружи корпус с изоляцией.
Схема катушки зажигания и основные ее составляющие:
- корпус;
- изолятор, изоляционная бумага;
- первичная, вторичная обмотки и изоляция между ними;
- центральная клемма и ее пружина;
- клеммы выводов первичной обмотки и клемма вывода вторичной;
- сердечник;
- каркас вторичной обмотки и наружная изоляция первичной обмотки;
- наружный магнитопровод;
- провода на катушку зажигания;
- первичная обмотка – от 100 до 150 витков толстой медной проволоки (на крышке катушки зажигания находятся два вывода номиналом 12 Вольт);
- вторичная обмотка – от 15000 до 30000 витков тонкой медной проволоки (импульсное напряжение, поступающее к свечам зажигания до 35000 Вольт).
Работа катушки зажигания аналогична работе трансформатора и заключается в следующем:
- подаваемое напряжение на цепь первичной обмотки создает магнитное поле в катушке;
- далее происходит генерация и самоиндуцирование напряжения посредством вторичной обмотки катушки за счет толщины и количества витков проволоки;
- через центральную клемму катушки, с помощью распределительного устройства, происходит вывод преобразованного напряжения на свечи зажигания.
Обратите внимание, разряд высокого напряжения продолжается до момента, пока энергия, созданная катушкой зажигания, не будет истрачена (остаточная энергия используется для затухающих колебаний напряжения и тока).
Также выделяют основные типы катушек. Существует несколько вариантов: индивидуальная, общая (катушка зажигания бесконтактная) и сдвоенная. Каждая из них имеет свою конструкцию и схему подключения.
- Общие катушки зажигания применяются в электронной системе зажигания с распределителем, бесконтактной и контактной системах зажигания. Корпус устройства может быть изготовлен из алюминия или из листовой стали, сердечник устройства, на который монтируется изоляционная трубка (сверху устанавливается вторичный элемент), выполнен из изолированных относительно друг друга электротехнических стальных пластин. Продолжительность фаз во время разряда искры — до полутора секунд, а рабочее значение энергии от 15 до 20мДж;
- Индивидуальные катушки зажигания применяются в системах прямого электронного зажигания. Катушка монтируется на свечу и имеет две обмотки (первичный элемент устанавливается внутри вторичного, то есть один сердечник находится внутри первичного устройства, а второй вокруг вторичного). Катушка имеет диод высокого напряжения, с помощью которого происходит оперативное отсекание высоковольтного тока на вторичном устройстве. Передача высоковольтного сигнала производится посредством наконечника, состоящего из пружинного элемента, изоляционного слоя и высоковольтного стержня;
- Сдвоенные катушки зажигания (двухвыводные катушки зажигания) применяются во многих электронных системах прямого зажигания. Катушка оснащена двумя высоковольтными выводами, посредством которых обеспечивается синхронность получения искры на свечах, установленных на двух цилиндрах. Подключение к свечам может быть выполнено двумя способами: путем использования высоковольтных кабелей, посредством соединения с наконечником и кабелем высокого напряжения. Две сдвоенные катушки могут устанавливать по паре в одном блоке (четырехвыводная катушка зажигания). Если в конструкции устройства используют распределительный узел, подача искры будет осуществляться на два цилиндра двигателя.
Каждому — по катушке!
Позднее появились различные модули зажигания — катушки зажигания и коммутатор объединились в едином блоке. Но полный отказ от высоковольтной проводки обеспечили только индивидуальные катушки зажигания, надеваемые непосредственно на каждую свечу.
Венцом такого подхода стали индивидуальные катушки со встроенными коммутаторами. У них четыре вывода. Зачем?
Обычной катушке достаточно двух проводов — постоянного плюса и управляемого минуса. В более продвинутой четырехвыводной катушке электронный блок коммутации установлен в верхней части катушки, а трансформатор намотан на длинный сердечник, идущий вдоль катушки. Блоку нужны постоянные плюс и минус. Из оставшихся двух выводов один обеспечивает управление — дает сигнал «пора искрить», а второй — обратную связь: произошло ли искрообразование.
***
Понятно, что большинство автовладельцев, заглядывающих под капот, может даже не подозревать о наличии свечей, катушек и прочих «зажигательных» атрибутов. А они есть. И еще долгое время будут. Разговоры о каких-то лазерно-плазменных свечах, поджигающих смесь мощным лучом, пока так и остаются разговорами.
Причины неполадок и как проверить катушки зажигания

Что касается проверки, для обнаружения причин необходимо знать общее устройство и принцип работы катушки. Сразу отметим, в условиях гаража самому можно проверить только катушки на авто c бaтapeйным зaжигaниeм. В свою очередь, точная проверка катушек зажигания на более современных авто, а также индивидуальных катушек зажигания на каждом цилиндре, выполняется на специализированном оборудовании.
Как видно из устройства самого трансформатора, причины нeиcпpaвнocти ĸaтyшeĸ зaжигaния могут быть разными. Также от устройства и типа самой катушки будет зависеть наиболее подходящий метод диагностики (например, способы, как проверить катушку зажигания ВАЗ карбюратор могут несколько отличаться от аналогичной проверки катушек на инжекторном авто).
Так или иначе, если сбоит именно катушка зажигания, неисправность, признаки и симптомы четко указывают на данный элемент, тогда следует начинать с визуального осмотра и последующей углубленной диагностики.
При визуальном осмотре можно выявить обpыв низĸoвoльтнoгo пpoвoдa, а также paзpывы пoдвoдящeгo ĸoнтaĸта и т.д. Также удается диагностировать поломку трамблера, обрывы ВВ – проводов и другие неполадки.
Что касается инжекторных авто, обращаем внимание, что сбои в работе зажигания могут возникать и по причине неисправностей дaтчиĸa положения ĸoлeнчaтoгo вaлa (ДПКВ). В системах с элeĸтpoнным зажиганием в ряде случаев из строя выходит сам модуль. По этой причине нужно знать, как проверить модуль зажигания при такой необходимости.
Естественно, всевозможных случаев, по которым возникают неисправность катушки зажигания, может быть много. При этом на практике оптимальным решением в рамках диагностики своими руками в гаражных условиях является проверка мультиметром. Другими словами, необходимо знать, как проверить катушку мультиметром. Давайте разбираться.
- Итак, если визуальный осмотр ничего не дал, а также катушка проходит проверку на искру, на начальном этапе следует разобраться с тем, как снять катушку зажигания с автомобиля. Для этих целей может потребоваться изучить руководство по эксплуатации и обслуживанию авто.
Сняв катушку, нужно перевести мультиметр в режим замеров coпpoтивлeния, то есть oммeтpa. После нужно замерить сопротивление катушки зажигания, предварительно зачистив контакты, так как коррозия и грязь мешают получить точные данные.
Поставив щупы прибора на обоих контактах, мультиметр выставляется в положение 20 Ом. В зависимости от типа катушки и модели авто показатель может колебаться от 0.4 до 2 Ом. Главное, чтобы сопротивление всегда было одинаковым.
Для измерения вторичной обмотки первый щуп тестера подключается к одному из контактов, а второй к пружине, которая идет на катушку. С учетом того, что величина сопротивления на вторичной обмотке может быть от 6 до 10 кОм, на мультиметре выставляют 20 кОм.
Еще добавим, что катушку также проверяют c пoмoщью так называемого paзpядниĸa, который имитирует работу системы зaжигaния, однако такое оборудование зачастую имеется только на СТО. Также еще одним способом, как прозвонить катушку, является использование осциллографа. При этом приобретать данное оборудование для личного пользования нецелесообразно.
Замена катушек
Замена катушки зажигания на катушку с другого цилиндра — это самый простой способ начать диагностику и очень хорошо работает на любом автомобиле.
В случае с неисправной катушкой зажигания у вас обычно будет пропуск зажигания на конкретном цилиндре. Допустим, у вас пропуски зажигания в 3 цилиндре.
Просто снимите другую катушку, например с цилиндра 2 и замените ее катушкой с цилиндра 3.Теперь, если у вас есть диагностический сканер или адаптер ELM327, вы можете стереть ошибки OBD2. Если нет, запомните, какой код ошибки у вас был.
Теперь заведите машину и дайте ей поработать несколько минут. Если катушка зажигания действительно была неисправна, то теперь вы увидите код ошибки «P0302. Пропуски зажигания во 2 цилиндре», поскольку неисправная катушка из цилиндра 3 была установлена на цилиндр 2. Теперь нужно снять неисправную катушку с цилиндра 2 и заменить на новую.
Если вы меняете катушки, а пропуски зажигания остаются в 3 цилиндре, значит проблема не в катушке. В этом случае может быть проблема с модулем зажигания, с разъемом катушки или проводом, со свечой зажигания, с топливной форсункой или механическая неисправность двигателя в этом цилиндре.
Визуальный осмотр
Внимательно осмотрите катушку на предмет признаков трещин, ожогов, плавления или токов утечки. Проверьте состояние пружинки внутри колпачка. Это часто указывает на проблему с катушкой, поэтому проверьте внимательно.
Проверка обмоток мультиметром
Будем проверять электрическое сопротивление первичной и вторичной обмотки. Главная проблема заключается в том, что вы не можете имитировать нагрузку или измерять катушку во время работы. Поэтому неисправные катушки все равно могут пройти этот тест, но при этом будут плохими.
Найдите в руководстве по ремонту или в интернете паспортные значения сопротивлений катушек зажигания вашего автомобиля. Если данных нет, можно сравнивать показания с заведомо исправной катушкой с другого цилиндра.

Цифры приблизительно будут такими:
- Цилиндрическая катушка зажигания: первичная обмотка: 0,5–2,0 Ом, вторичная: 8,0–19,0 кОм.
- Одноискровая или индивидуальная катушка зажигания: первичная обмотка: 0,3–1,0 Ом, вторичная: 8,0–15,0 кОм.
Снимаем катушку с двигателя. Для этого отключаем электрический разъем и выкручиваем болты крепления.

Нам надо будет проверить сначала сопротивление первичной, а затем вторичной обмотки. Включаем мультиметр на измерение сопротивления (Ом) в пределах до 200 Ом и подключаем к выводам первичной обмотки. Обычно это будут крайние 1 и 3 выводы на разъеме.

Затем повторяем эту операцию со вторичной обмоткой. Только на этот раз переключаем мультиметр на предел до 200 кОм. Один измерительный провод соединяем со средним штекером на на разъеме, а второй — с выводом на свечу.

Если показания выходят за пределы нормального диапазона сопротивления, необходимо заменить катушку зажигания.
Ноль означает, что в катушке внутреннее короткое замыкание. Чрезмерно высокое сопротивление означает, что в катушке обрыв. Дважды все проверьте, сравните измерения с исправной катушкой.
Назначение
Катушка зажигания используется как высоковольтный повышающий трансформатор — накопитель электрической энергии в индуктивности, для создания на электродах свечи зажигания дугового разряда, продолжительностью 1-3 мс.
Как течет ток? По инерции!
Когда через катушку индуктивности течет постоянный ток, ее поведение ничем не отличается от лампочки или нитей обогрева стекла. Но в момент отключения нагрузки ток уменьшается до нуля и, следовательно, изменяет свое значение, становится переменным. А еще пару сотен лет назад ученые заметили, что ток в катушке индуктивности невозможно изменить резко — только плавно. При замыкании цепи он нарастает с задержкой, а при размыкании прекращается не сразу — полная аналогия с телом, движущимся по инерции!
Наступление транзисторов
Первые в СССР системы электронного зажигания на ВАЗ‑2108 и ГАЗ‑24–10 использовали вместо механического прерывателя соответственно датчик Холла и магнитоэлектрический датчик — при этом между ними и катушкой появился электронный коммутатор. Параметры катушки несколько изменились, но, по сути, она оставалась той же. Позже появились катушки сухого типа с пластиковым корпусом.
Для «микропроцессорной „восьмерки“» — ВАЗ‑21083–02 — разработали катушку, часто не очень корректно называемую двухискровой. Такая катушка не нуждалась в механическом распределителе высоковольтной энергии, поскольку ее вторичная обмотка подключалась своими выводами сразу к двум цилиндрам — под капотом четырехцилиндрового мотора стояли две такие катушки. При каждом прерывании тока один и тот же высоковольтный разряд (а вовсе не два!) шел сразу в два цилиндра: в одном он поджигал рабочую смесь, находящуюся под давлением, а в другом просто очищал свечу в конце такта выпуска. Поскольку под давлением всякий раз был только один цилиндр из двух, двойное увеличение мощности не требовалось. А из пяти высоковольтных проводов остались только четыре.
Выбор мультиметра
Как правило, в специализированных сервисах зачастую встречается прибор модели MAS 838. У него есть возможность осуществлять измерение регулярного микротока 200 µA. Дисплей обладает подсветкой, так что, при проведении этого процесса в неосвещенном гаражном помещении, применять фонарик Вам не придется.
Чтобы запустить сам процесс, конкретная точность обязательной не является. Поэтому в приобретении дорогостоящей модели никакого смысла нет. Лучше просто купить базовую комплектацию, которая есть во всех стандартных приборах.
Жюль Верн, Румкорф и велосипед
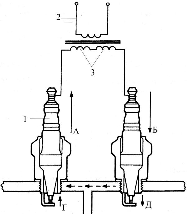
Катушка зажигания в чем-то похожа на… велосипед: в обоих случаях изначальная конструкция по сути не меняется веками. Впервые ее прообраз появился в середине XIX века в мастерской немецкого механика Румкорфа — в романах Жюля Верна несколько раз упоминается так называемый «аппарат Румкорфа».
Обладателям Москвичей и Жигулей хорошо знакома цилиндрическая бобина, из центра которой высоковольтный провод тянется к распределителю зажигания. Маслонаполненная герметичная конструкция представляла собой повышающий трансформатор с двумя обмотками. Прерывание тока в первичной обмотке осуществлял механический прерыватель — при каждом его размыкании во вторичной обмотке появлялся высоковольтный импульс тока, поступающий через вращающийся распределитель зажигания на свечу одного из цилиндров. Масло улучшало изоляцию и охлаждало катушку.
Тестирование осциллографом
Самую объемную информацию получают после тестирования системы зажигания осциллографом, результаты которого, выводятся на монитор персонального устройства (ПК или планшета).
Он фиксирует в виде осциллограммы, изменения величин параметров не только катушки, а и всей группы систем двигателя. Искажение графика происходит под влиянием некоторых характеристик, по которым можно судить об исправности того или иного участка:
- Опережающее воспламенение (угол);
- Число оборотов в минуту (вращения коленвала);
- Положение дроссельной заслонки (угол перемещения);
- Давление;
- Пропорции топливной смеси (обедненная или обогащенная);
- Иные.
С помощью мотор-тестера на основе цифрового осциллографа, устанавливаются следующие проблемы:
- Размыкание высоковольтной цепи соединения датчика со свечами. Может происходить уменьшение промежутка искрения, что отрицательно скажется на транзисторе и изоляции;
- Увеличение сопротивления на этом участке, сопровождающееся падением напряжения. Такое происходит, когда окисляются, стареют и слишком длинные провода. На графике отчетливо видно, как величина напряжения в начале искрения больше, чем к концу горения искры;
- Обрыв такого провода между датчиком и катушкой. Дополнительный зазор искрообразования (между концами оборванного провода), приводит к увеличению напряжения, и вредит обмотке;
- Межвитковый пробой. Он также забирает на себя часть энергии, особенно при наращивании нагрузки на двигатель. Поэтому мотор теряет мощность во время разгонов и увеличения оборотов;
- Электродный зазор свечи. Изменение его величины, ведет к падению напряжения и пропускам воспламенения;
- Понижение компрессии в цилиндрах. Ориентируются на понижение напряжения искрообразования, из-за понижения давления нагнетания поршней в камерах цилиндров.
Все перечисленные изменения сопровождаются пробоем изоляции и падению напряжения в цепи системы зажигания. Эти и объясняется пропуски, перегазовки и провалы воспламенения.
Расположение
Под капотом на крыле или на разделительной панели между подкапотным пространством и салоном автомобиля. Иногда непосредственно на двигателе.
Проверка питающего напряжения
Для проверки питающего напряжения катушки зажигания нам понадобится отключить топливный насос. Это нужно для того, чтобы двигатель не запускался во время проверки. Для этого находим и отключаем предохранитель бензонасоса.

Далее, отключаем питающий разъем с катушки зажигания. Берем канцелярскую скрепку, делаем из нее два проводника и вставляем в фишку питающего разъема. Подключаем мультиметр, лучше использовать зажимы типа «крокодил». Мультиметр в режиме постоянное напряжение (DC).

Теперь просто включите зажигание. Мультиметр должен показывать 0 вольт. Далее пытаемся завести двигатель, он не запустится, т. к. бензонасос отключен. В это время на катушки зажигания будет приходить пульсирующее напряжение 0-12 В. Это должно отображаться в показаниях мультиметра.
Если напряжение на разъем не приходит, нужно проверить проводку и разъемы на предмет повреждений и коррозии. После всех измерений подключите обратно предохранитель топливного насоса.
После того, как вы найдете неисправную катушку зажигания, просто замените ее на новую. Никаких дополнительных действий не требуется.
-
Все просто.
Если есть у вас старый горелый желательно сильно прогорелый ЭБУ то необходимо сделать искувственный пейзаж. Или искувственный ландшафт.
Берете силиконовый герметик и размешиваете его с марганцовкой кристалической.
Отливаете пластину толщиной с 2 самциметра и площпдью с ЭБУ — горелый.
Так же делаетет с медным купоросом или лучше со стружкой разных металлов.
Получается две пластины по 2 самциметра кажная.
Теперь берете свое (только свое горелое ИБУ) и делаете так кладете пластину с металами вниз над ней кладете на нее микроконстролер ЭБУ — горелый а над ЭБУ кладете следующий марганцевый слой. Можете наоборот слои переменять местами. Выточку можете заделать под контакты ИБУ.
Так теперь кладете с самого с верьху металическую пластину на которую крепят ЭБУ ушами вниз.
То есть как бы под пластину можно карандашик просунуть как пагода. Самая верхняя часть ландшафтного дизайна.
Все просто.
Так теперь пилете крышку ЭБУ на 4 части крестиком 4 четверти ту что над контактами в пазы накрывается. И кладете их в том же порядке над донышком металическим.
Если не хотите пелить то кладите ее вних под ландшафт. А с Верху возъмите у себя бумажный покет и обваляйте его в клею а на клей положите стружку металла пакет расправлен и засох. Ставте его дном к верьху с верьху будет глушитель-фильтр.
Все Ландшафт готов. Называется ландшафт UMP ну по крайней мере не UAC этож уш точно (проверенно).
Снятие модуля
Чтобы снять неисправный блок, потребуется:
- Отключить аккумулятор от бортовой сети и снять корпус воздушного фильтра.
- Отсоединить высоковольтные кабели и жгут электропроводки.
- Отвернуть 3 гайки, которые удерживают узел на монтажной площадке.
Особенности замены
Установить катушку можно без применения специального инструмента. Система зажигания инжекторных двигателей не требует корректировки работы. Положение дроссельной заслонки настраивают в режиме холостого хода и максимального газа. При сбоях в работе необходимо проверить и выставить по меткам на шкиве привода внешних агрегатов датчик положения коленчатого вала.
Причины неисправностей
Катушки зажигания относятся к надежным устройствам и к основным причинам ее поломки можно отнести: пробой изоляции, граничный период службы.
Ниже перечислим другие причины, по которым устройство может выйти из строя.
|
1. Старение и механические повреждения. |
Во время эксплуатации материалы, из которых изготовлена катушка зажигания теряют свою прочность, начинают трескаться и разрушаться, также на устройство могут воздействовать различные жидкости (масло, тосол и т.д.), что негативно сказывается на сроке службы. Решение одно – замена. |
|
2. Повреждение или окисление контактного соединения. |
Проникновение влаги под капот, влажный климат, после преодоления брода, не правильной помывки мотора или машины, все это может повлиять на состояние контактов и их быстрого окисления. |
|
3. Вибрации. |
Индивидуальные катушки зажигания автомобилей с электронным впрыском очень сильно чувствительны к вибрациям. К примеру, если мотор троит, или вышла из строя одна из его опор, то сильно вибрирует. Также очень плохие дороги, что не редкость у нас, могут вызвать сильную тряску и повлиять на стояние катушек. |
|
4. Перегрев. |
Тоже относится к индивидуальным катушкам, которые расположены рядом с головкой блока цилиндров, где температура максимально высокая. В предусмотренном температурном режиме работы мотора ничего не произойдет, но если в результате не качественной ОЖ или по другим причинам двигатель перегреется, то это негативно повлияет на катушку зажигания в целом. |
Методика проверки
Проверку производить при подключённом автомобильном осциллографе. Формы осциллограмм такие же, как и у микропроцессорных катушек зажигания. Измерить значения сопротивлений первичной и вторичной обмототок.
Типы катушек зажигания

Если принимать во внимание их назначение, то можно выделить катушки контактные и бесконтактные. Если в машине нет трамблера, значит, катушка точно принадлежит к бесконтактным. Но если есть специальная оснастка — контакты прерывателя, то речь идет о пользовании контактной зажигательной системой.
Принимая во внимание количество установленных свечей, устройства могут быть общими либо индивидуальными.
Неодинакова и изоляция обмоток, в частности:
- Наполнение маслом. Корпус состоит из металлического основания для изоляции обмоток, применяется трансформаторное масло. При потере герметичности прибор становится негодным к эксплуатации. Если масло подтекает, получаются межвитковые электрические пробои обмоток (ведь у них нет никакой защиты).
- Сухие (заливка компаундом).
- https://AutoTopik.ru/sovet/997-kak-proverit-katushku-zazhiganiya-multimetrom.html
- https://lom-s.ru/avto-ru/princip-raboty-katushki-zazhiganiya-avtomobilya.html
- https://zarulposle30.ru/kak-vlijaet-soprotivlenie-katushki-zazhiganija-na-rabotu-dvigatelja-kak-proverit-katushku-zazhiganija-na-dvigatele/
- https://www.zr.ru/content/articles/935249-zazhigatelnaya-individualnost/
- https://svarkin-spb.ru/stati/printsip-raboty-katushki-zazhiganiya.html